Time :
2025-6-26 16:48:08Size:
[Large
Middle
Small
]Page View:
A revolutionary breakthrough has been made in the field of power battery manufacturing! A Chinese technology called “ultra-fast laser precision cutting method for parallel deburring” has successfully increased the yield of pole ear cutting from an industry average of 95% to 99.5%, with a cutting accuracy of ±5μm, and equipment cost reduced by 40% compared with imported models. How does this technology break the monopoly of Germany and Japan? And how will reshape the 100 billion lithium circuit?
I. Industry pain point: the “burr dilemma” of lug cutting
The global new energy vehicle market is growing rapidly, and the annual production capacity of power batteries is expected to exceed 2TWh in 2025. in power battery manufacturing, the lug cutting is the “lifeblood” that determines the safety and performance of the battery. Traditional laser cutting due to thermal effects lead to burrs, melting beads, not only the yield rate stuck in 95% bottleneck, but also buried battery short circuit hidden danger. Imported equipment is priced at more than 3 million dollars per unit, and the maintenance cost is very high, which has become the “neck” of domestic battery enterprises.
The key to break the game: China's R&D team pioneered the “dual laser synergy + AI intelligent control” program, which overcame three major technical barriers in one fell swoop!
II.technology subversion: three innovative breakthroughs
1. Dual laser “combination punch”, cost and precision at the same time
Nanosecond laser pre-cutting: Cost-effective nanosecond laser (10-200W) pre-cutting thick coating areas (e.g. graphite, lithium iron phosphate) along a linear path.
Ultra-fast laser precision trimming: Picosecond/femtosecond laser (10-30W) completes the cutting of the remaining foil along a complex trajectory and simultaneously cleans the pre-cut path of burrs
-Effect: burr height reduced from 50μm in traditional process to less than 10μm, equipment cost reduced by 40%!
2.AI real-time compensation, cutting accuracy upgraded to ±5μm Through CCD vision + machine learning algorithm (MLP neural network), dynamic correction of galvanometer jitter, to ensure that the laser path overlap of 99.9%. The yield rate jumps to 99.5%.
3. All-scenario adapted process matrix, improve the efficiency of changeover Supports flexible processing from single lug to multi-lug, from regular shape to lugs with positioning holes, compatible with materials such as copper foil, aluminum foil, etc. and static/uniform-speed conveying conditions. Parameterized programming quickly adapts to different production line requirements, reducing changeover time by 70%.

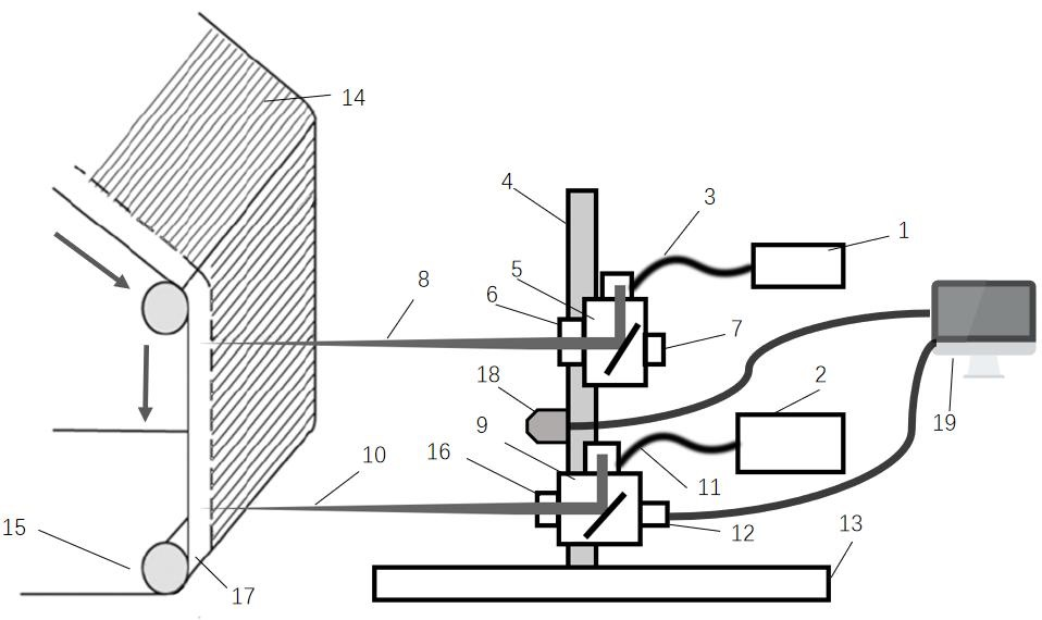
发明专利示意图

Patent for invention physical modeling diagram
III.the R & D chronicle: from the laboratory to the production line of the long march of technology
Early stage of R&D: After repeated failures due to the lack of synchronization accuracy of dual laser paths, the team joined hands with the laboratory of Wenzhou University to overcome the cold processing parameter window of the ultra-fast laser, laying the foundation for dual-laser synergy. The prototype encountered 50μm path deviation caused by material jitter, the team spent 6 months on AI algorithms, and finally realized real-time compensation through MLP neural network, which compressed the deviation to less than 5μm.
Mass production validation: 10,000 pieces of pole lugs were tested in cooperation with Pentium Precision, with a stable yield rate of 99.3%, and a single machine saving over 1 million yuan in annual scrap cost!
IV, the future outlook: from pole ear cutting to global smart manufacturing benchmarks
With the landing of new technologies such as 4680 large cylindrical batteries and solid state batteries, the structure of the pole lugs will become more complex. This technology has been reserved for multi-beam synergy, digital twin regulation and other upgraded interfaces, the future can be extended to the fuel cell bipolar plate, flexible circuit boards and other precision machining areas.
Source: Wenzhou Intellectual Property Protection Center